Lifting heavy metals is now easier, thanks to the best vacuum slab lifter called the Grabo Electric Vacuum Lifter. This is the device you need to facilitate your work whether at the workshop or home.
The manufacturers of this suction cup lifting device manufactured it as a way of helping workers to lift both flat surface items and paving slabs.
In this article, we explain everything you need to know about the Grabo Electric Vacuum Suction Cup Lifter, as well as some of the items you can successfully lift with this device.
Nemo Grabo Specifications
It is pertinent to point out here that the manufacturer of this device has many others of its kind in their product line.

The name of the brand as well as the production line is Grabo. However, when it comes to the products, the names tend to differ. Nemo Grabo is one of the most popular electric vacuum suction lifters. The others are Grabo PRO-Lifter 20 and Grabo H.
To that end, our focus will be on the Nemo Grabo, which offers advanced lifting capabilities.
Buy item on AmazonNemo Grabo Battery
One of the factors you consider when investing in a Nemo Grabo vacuum suction lifter is the durability or the battery life. Because this device uses batteries, you want to be sure that the battery life is something you would love.
First, the capacity of the battery is rated as 14.8 VDC, 2600mAh Li-ion battery. That is some power to keep you going for some hours.

Second, the battery is rechargeable. This means that when the battery drains, you can always recharge it to continue using your device. Besides, it doesn’t take more than 2 hours to recharge the battery.
Third, the battery life when in use is also remarkable. For a device of this standing, with all that it offers; we are impressed to see that it can last this long. Ideally, the Nemo Grabo suction lifter can last up to 1 hour and 30 minutes. Have in mind that this is rated based on the non-stop running capacity. So, if you use it at intervals, it can serve you for 2 hours or more.
Also, this device has a rated power of 16W. In addition to that, it has a charge hold or stand-by-mode of 30 days. That way, the longevity of all that it offers will be preserved for a while.
Still, on the battery life and general power capacity of the Nemo Grabo – there is what is called the Pump Service Life. This ensures that the pump (on and off) button of this vacuum suction lifter works as it ought to. For example, the 100,000 ON/OFF cycles integrated into this device ensure that the On and Off buttons can be operated for 800 hours or more continuously.
In extension, this implies that the electric vacuum pump in this device achieves the highest level of suction that makes the device work optimally. There is also the Running Cycles that is used on a full charge. These cycles offer up to 900 On and Off cycles of 10 seconds per cycle.
Weight of Grabo vacuum lifter
How much does this device weigh, you may ask? A device that can lift stone and tiles would be expected to weigh up to 40kg or more.
Well, the Nemo Grabo Electric Suction Cup Lifter doesn’t weigh that much. It will interest you to know that this device weighs as little as 1.6kg, which is equivalent to 3.3Lbs. When the shipping weight is included, the overall weight will be anywhere between 2kg and 2.5kg.
Lifting Capacity
What is the average weight capacity that Nemo Grabo can lift? That this device has a lower weight capacity doesn’t mean that it cannot comfortably lift more weights.
Also, the rating of the lifting capacity is divided by the type of material being lifted, as well as the direction of the lifting.
The primary materials that can be lifted with this device are:
- Plastic
- Drywall
- Metal
- Glass
- Rough concrete
- Ceramic tiles
- Rough slate
- Wood
In light of that, we have prepared a table below detailing the different lifting capacities of the Nemo Grabo vacuum suction lifter, based on the direction from which you are lifting the materials.
Type of Material | Perpendicular Hold | Parallel Hold |
Drywall | 75kg or 165LBs | 65kg or 143Lbs |
Glass | 170kg or 375Lbs | 120kg or 265Lbs |
Rough Concrete | 80kg or 176Lbs | 80kg or 176Lbs |
Wood | 100kg or 220Lbs | 65kg or 143Lbs |
Rough Slate | 80kg or 176Lbs | 80kg or 176Lbs |
Metal | 110kg or 242Lbs | 110kg or 242Lbs |
Plastic | 100kg or 220Lbs | 100kg or 220Lbs |

Features of Nemo Grabo
The features of the Nemo Grabo Electric Vacuum Suction Lifter are many. It is those features that make this device a strong competitor to standard or traditional suction cups that cannot offer most of the features that this device offers.
Without much ado, let us look at some of the properties or features of the Nemo Grabo Electric Vacuum Suction Lifter.
Surfaces
The surface of the materials to be picked has been a subject of concern. Most workers are worried that traditional or standard suction lifters cannot hold the materials with porous surfaces for a few minutes.
That is, however, not the case with Nemo Grabo. This device offers one of the best grips as far as suction cups are concerned. The primary reason why it can hold porous materials for long is because of the excellent suction that continually pumps out a large volume of air, which is usually higher than the diffusion or air that flows through the surface.
This device outperforms standard suction cups in that regard because of the constant air pumps that envelope the otherwise allowance of air to travel through the surfaces of porous materials.
Because of this secure adhesion to porous materials, the Nemo Grabo Electric Vacuum Suction Lifter can conveniently create a firm seal on the surface of the materials.
Because of that, this device works well on some of the porous materials, some of which are:
- Natural stone tiles
- Rock
- Wood
- Gypsum boards and
- Rock
Also, the ability to work on the surfaces of porous materials makes this suitable to work on many other surfaces, such as:
- Textured tiles
- Concrete pavers
- Plasterboard
- Textured glass
- Stone slabs
- Drain covers
- Flagstones
- Checker plate
- Worktops
- Glass
Grabo Vacuum Pressure Gauge
Another feature we like the most is the Vacuum Pressure Gauge. This feature comes in handy when you need to keep tabs on how your Nemo Grabo works.
This is very important because you don’t want the device to go above board. Besides, there are instances where the weight of the material you are lifting needs to be adjusted.
It is the work of the Vacuum Pressure Gauge on this device to let you know when the pressure needs to be increased so that the material being lifted would not fall out.
Grabo Several Technologies
Nemo Grabo is not the only vacuum lifter in town. However, there are specific reasons why tilers, worktop installers, landscapers, and façade installers prefer to use it.
One of the major reasons is because of the combined technologies used in manufacturing the device. Hence, the Nemo Grabo is not your regular vacuum lifter because it has additional features that make it stand taller amongst other vacuum lifters.
It will interest you to know that the device was built with combined batteries and electronics from drones. It also features sealing and fabrication methods commonly used in the marine industry. Lastly, it was built with cooling technology from computers.
Those combinations go an extra mile to position Nemo Grabo as one of the best vacuum lifters because it has additional features and more use cases than its competitors do.
Easy to Operate
Ease of operation or use is one of the factors you must consider when buying any equipment. The primary reason for investing in such equipment is to make your work easier. So, it doesn’t make sense that you will have to buy something that isn’t useful.
On the contrary, you want to prioritize the Nemo Grabo Electric Vacuum Suction Cup Lifter because it features easy operation that is feasible via the two buttons. These buttons are the Green and the Red buttons.
The Green button is used for operating the device by turning it on when you want to use it. You will also use this button to turn off the device.
The Red button is what you will press when you want to release the suction pad. This button is very important because it helps you to quickly add suction or increase the flow of air so that the diffusion of air on the surface of the material wouldn’t make the job tougher. This button is what you will press when you must have placed the material where it should be. Once you do that, the seal will be broken, and you can then move the device to do other things.
Grabo Lifting Strap
As much as this device is optimized to carry different kinds of materials on a drag-and-drop basis, it doesn’t erase the fact that some materials can be heavier than the others are.
In this case, you want to use the Lifting Strap provided by this manufacturer. This strap is attached to the two anchoring points of this device. That way, you can easily lift bulkier materials.
Replacement Foam Rubber Seal
The flexible foam rubber seal located on the bottom of the device may wear out with time. But, do not worry because the manufacturer already sorted it out.
There is a replacement foam rubber seal that comes with this device. You can use that to replace the other when it wears out so that the bottom of the device can continue to create excellent seals that grip different kinds of surfaces.
Nemo Grabo Applications
Some industries benefit the most from all that the Nemo Grabo Electric Vacuum Suction Lifter has to offer. This new and revolutionary lifting device allows convenient lifting and handling plasterboard, tiles, concrete, plywood furniture, marble, textured plates, ribbed glass, and glass.
Besides, this device is designed for use by some professionals, such as construction workers, flooring professionals, movers, and glass installers.
The 170kg maximum holding force means that this suction lifter can grab different kinds of surfaces, ranging from dusty, textured, wet and rough.
Whatever type of surface you have on the material or whatever application you need this device for; you can rest assured that it will grab them all.
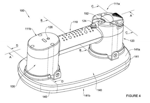
Main Components
Nemo Grabo Electric Vacuum Suction Cup/Lifter has different components that work in different ways to help the device work well.
Some of these components are:
- Power indicator
- Battery pack
- Power on and off switch
- Strap holes for lifting bulkier materials
- Vacuum pressure gauge
- Seal release button
- Motor power button
How to Charge Nemo Grabo Battery
After many hours of work, you would want to recharge the battery of the Nemo Grabo vacuum lifter so that it will continue to work optimally.
Here are the steps to follow:
- Connect the main plug of the battery charger to a nearby electrical outlet
- Connect the charger of the device to the battery
- Check the power indicator to see if the red light is showing because that indicates that the battery of the device is charging.
- Once it is fully charged, the indicator light will turn to green. It is then safe to unplug the charger from the electrical outlet.
How to Replace the Rubber Foam Seal
The rubber foam seal on the Nemo Grabo vacuum suction cup uses a patented soft-sealing system that provides strong adhesion to different materials, provides high friction to different materials and surfaces, as well as seals rough and uneven surfaces.
You should consider replacing the rubber foam seal with the replacement seal that comes with your Nemo Grabo.
To do that, follow the steps below:
- Check if there are visible signs of damage on the seal.
- If there is, start the replacement process by either slowly removing the worn-out rubber seal, or pulling out the same if it grips.
- Ensure that you slowly pull out the seal from the plastic base.
- After that, gently press the replacement rubber foam seal into the position where the former seal was. Confirm that it is snuggly so it wouldn’t fall out during use.
Nemo Grabo Vacuum Slab Lifter Testing
The Nemo Grabo, just like every other power tool built by its manufacturer, Nemo Power Tools, was subjected to different kinds of tests to be sure that it works as it should.
Some of the testing processes used to evaluate the efficiency of this device are;
- Dust test
- Connectors lifespan test
- Production line test
- Box shake test
- Max load test and
- Street test
Each of those tests confirmed that the Nemo Grabo works excellently.
There are also a couple of testimonials from buyers who are pleased and excited at just how much work the Nemo Grabo can do in a few minutes.
Conclusion
Nemo Grabo Electric Vacuum Suction Cup is an excellent device for professionals who are looking to reduce manpower and save costs in the line of duty.
The device has a wide range of features and specifications that do not only get the work done but faster too.
Of course, it is up to you to decide on which is best – doing the regular thing of doing more work and exposing your fingers to possible injuries. Or, you can decide to save time and money by buying the Nemo Grabo suction lifter that makes the job of lifting and placing different kinds of heavy materials one of the easiest jobs in the world.